Dalla Honda NR500 alla recente domanda di brevetto Aprilia per un telaio composito carbonio-allumi

Dalla Honda NR500 alla recente domanda di brevetto Aprilia per un telaio composito carbonio-allumi
Recentemente, è apparsa la notizia di una domanda di brevetto depositata da Aprilia che riguarda un telaio composito in lega leggera e fibra di carbonio. Ripercorriamo la storia dell’applicazione dei materiali compositi nei telai delle moto da corsa, che inizia più di quarant’anni fa
12 marzo 2025

Recentemente, su alcuni web magazine, è apparsa la notizia di una domanda di brevetto depositata da Aprilia - tramite il Gruppo Piaggio che la controlla - riguardante un telaio composito in lega leggera e fibra di carbonio.

Sotto la direzione tecnica dell’ing. Albesiano, Aprilia ha provato in pista fin dal 2023 un prototipo della sua RS-GP dotato di telaio in fibra di carbonio e, comunque, la scelta di utilizzare questo tipo di materiale non rappresenta certo una novità per le moto da corsa. Per questo viene da chiedersi quale sia l’innovazione che Aprilia vuole proteggere tramite questa domanda di brevetto industriale.

Per poter capire la questione, dobbiamo entrare nell’argomento ripercorrendo la storia dell’applicazione dei materiali compositi nei telai delle moto da corsa; storia che inizia più di quarant’anni fa.

Quando stavo per entrare nel mondo delle moto da corsa, erano due le realizzazioni che mi incuriosivano e affascinavano. Si tratta di due moto del passato costruite da due realtà imprenditoriali diametralmente opposte, ma entrambe nate dalla voglia di rompere con la tradizione.

La prima aveva il marchio dell’industria numero uno al mondo, si trattava della Honda NR500.

Naviga su Moto.it senza pubblicità
1 euro al mese

Quando arrivò in pista all’inizio degli anni ’80 questa 500 sembrava fosse stata sviluppata da un reparto corse marziano, tanto era diversa - in tutto - rispetto alle moto che si erano viste fino ad allora. Il progetto era talmente innovativo che gli ingegneri, concentrati a curare lo sviluppo di così tanti particolari nuovi, non avevano avuto modo di curare bene l’amalgama, cosa di fondamentale importanza nelle corse, e difatti i risultati sportivi proprio non arrivarono. Honda tirò fuori in fretta la NSR a 2 tempi e tre cilindri e ritorno presto a primeggiare.

La NR entrò nella storia per la soluzione del motore “oval piston”, motore divenuto mitico, ma in realtà fu la prima moto che portò nel motomondiale alcuni particolari strutturali fatti in fibra di carbonio, materiale applicato sia al telaio che alle ruote.

Dalle foto si nota un utilizzo massiccio di rivetti e viti per unire i particolari metallici agli elementi in fibra, segno della tecnologia dell’epoca ancora poco sviluppata da questo punto di vista. Solo Honda aveva potuto imbarcarsi in un progetto così complicato e allo stesso tempo disastroso sul piano dei risultati sportivi senza soffrirne più di tanto.

Il secondo progetto affascinante venne realizzato una decina d’anni dopo da un geniale artigiano neozelandese, John Britten. La Britten V1000 è stata la moto da corsa più innovativa degli anni ’90, fatta in casa da un artista della costruzione che aveva imparato da autodidatta a gestire le varie tecnologie necessarie. Poche attrezzature economiche, pezzi realizzati con macchine utensili ridotti al minimo indispensabile, riduzione estrema del numero di componenti del veicolo.

La razionalità costruttiva è ancora un esempio valido adesso. Sul piano dell’utilizzo della fibra di carbonio, questa fu una della prime realizzazioni in cui erano stati costruiti particolari di forma complessa in un pezzo unico con la tecnologia della laminazione della fibra e la successiva cottura in autoclave. Questa tecnica la si vede applicata alle ruote, al forcellone posteriore e anteriore, alla parte di telaio che aggancia le testate del motore V2.

La moto ha corso e vinto nelle categorie dove potevano correre le grosse bicilindriche a 4 tempi all’epoca; la si sarebbe forse potuta vedere in SBK, ma il suo ideatore, purtroppo, se ne andò troppo presto.

In epoca più recente, alla fine della sua storia nella Classe 500, è stata la Cagiva a tentare la strada del telaio a struttura mista carbonio-alluminio. L’ultima versione, la C594 aveva la parte anteriore del telaio in fibra di carbonio, unità a metà lunghezza dei travoni ad una struttura più classica in lega leggera. Il forcellone poteva essere in fibra di carbonio o in alluminio a seconda della preferenza dei piloti.

La prima foto della Cagiva che trovate qui di seguito è stata fatta al Mugello in occasione del GP d’Italia del 1995, l’ultima apparizione della marca italiana in un GP della Classe Regina, pilota Pierfrancesco Chili.

Dopo aver raggiunto il primo titolo nella Classe MotoGP nella stagione 2007, anche la Ducati, sotto la direzione tecnica dell’ing. Preziosi, ha portato al debutto la GP09 con telaio in carbonio.

La moto del 2009 era stata estremizzata nel concetto dell’utilizzo del motore come elemento stressato. Il forcellone in carbonio era ancorato alla scatola del cambio, mentre il telaio era ridotto al minimo: era fissato tramite viti alle due testate del V4 e fungeva pure da airbox. Questa soluzione, che doveva sostituire il classico traliccio in acciaio, venne presto abbandonata in quanto non dava molta confidenza ai piloti nel sentire il limite del grip. Di lì a poco, complice l’arrivo di Valentino Rossi a Borgo Panigale, anche Ducati inizierà lo sviluppo di un classico telaio perimetrale in lega leggera.

L’unico costruttore ad aver utilizzato stabilmente in MotoGP un telaio costruito in fibra di carbonio è KTM. La Casa austriaca ha fatto debuttare questa soluzione nel 2023 e da allora la sta utilizzando stabilmente.

Comi si vede bene dalla foto qui sotto, la struttura è molto diversa da quelle mostrate fino ad ora. KTM ha di fatto replicato piuttosto fedelmente, anche nelle sezioni, il telaio in acciaio utilizzato precedentemente, invece che optare per la costruzione di una struttura formata da elementi di sezione molto più estesa. Questa scelta deve aver consentito ai tecnici austriaci di sviluppare i calcoli strutturali con molta più facilità nella ricerca del miglior compromesso in termini di rigidità, parametro di fondamentale importanza per una moderna MotoGP.

Il telaio in carbonio KTM ha debuttato in contemporanea a quello Aprilia. La Casa di Noale, però, lo ha portato in pista solo per dei test e non lo ha ancora mai fatto debuttare in gara.

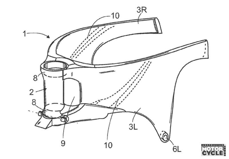
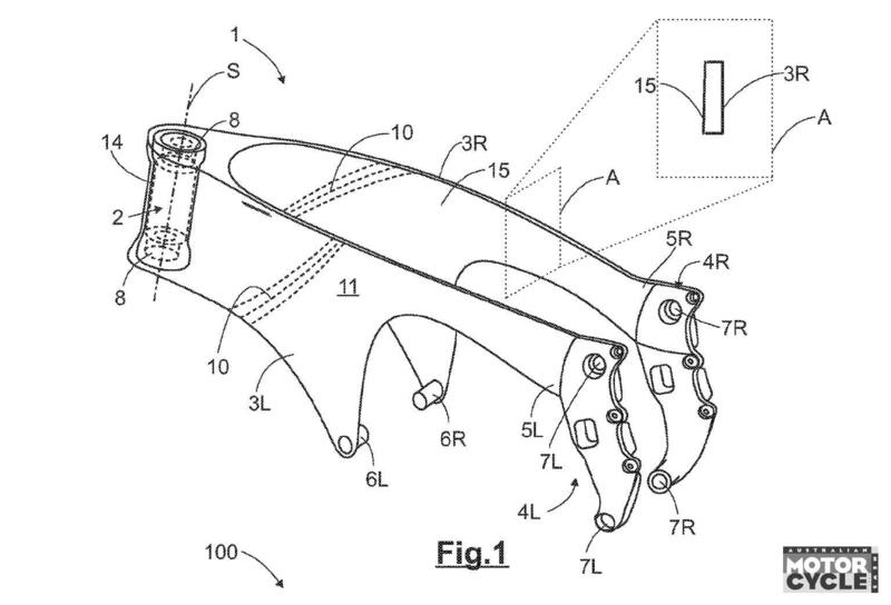
La soluzione non appare concettualmente troppo distante da quella Cagiva di trent’anni prima e, in effetti, l’ing. Albesiano aveva lavorato in Cagiva in quegli anni. I disegni contenuti nella domanda di brevetto spiegano come sia stato pensato il telaio Aprilia.

Sono due gli aspetti che Aprilia evidenzia per il loro contenuto innovativo nel testo che accompagna la domanda di brevetto.

Il primo è relativo ai materiali e al sistema di giunzione: si tratta di una struttura composita, fatta in fibra di carbonio nella parte anteriore e di lega leggera nella parte posteriore. Le due parti sono unite con un incollaggio strutturale. Niente giunzioni a vite o rivettate come si è visto nelle soluzioni del passato, quindi.

Il secondo è relativo al particolare disegno della zona del cannotto di sterzo: l’utilizzo della fibra di carbonio consente di dimensionare i condotti di aspirazione, che attraversano la struttura del telaio in quella zona, in modo molto più efficace. Si sfrutta, quindi, un materiale decisamente più resistente rispetto alla lega leggera per dimensionare i condotti che portano aria fresca al motore con sezioni più generose, senza per questo compromettere le caratteristiche strutturali del telaio.

Come ho già avuto modo di scrivere, queste domande di brevetto il più delle volte servono a garantirsi un primato nella presentazione dell’innovazione e questo permette di evitare che la domanda possa presentata con successo dalla concorrenza.

Più che un giudizio sull’effettivo contenuto innovativo, quindi, la domanda di brevetto Aprilia fa capire quanto sia evoluta la tecnologia applicata alla motocicletta in quarant’anni, ma anche quanto poco paghino nelle corse le rivoluzioni tecnologiche. Lo sviluppo efficace di una moto da corsa procede per piccoli passi, suffragati da un continuo provare per verificare e confermare i risultati. La moto è uno strumento che va cucito attorno al pilota e per questo è di fondamentale importanza riuscire a mantenere un’armonia funzionale tra i vari elementi del veicolo.

In futuro si arriverà sicuramente ad utilizzare maggiormente i materiali compositi; al momento questa esigenza non appare ancora così netta e questo è legato, in particolare, alle caratteristiche strutturali degli pneumatici attuali. Se non ci fosse il monogomma…

Hot now

Caricamento commenti...