Yamaha, brevetti di scooter ibridi

Alcuni brevetti depositati in Giappone suggeriscono che Yamaha stia lavorando alle motorizzazioni ibride termiche/elettriche per scooter ma non solo
21 febbraio 2022

E' Kawasaki la prima Casa ad aver annunciato a breve l'entrata in produzione della sua prima moto ibrida: la marca di Akashi ha confermato tre novità elettriche proprio per il 2022.

Naturalmente non è la sola Casa motociclistica a sviluppare la tecnologia ibrida con lo scopo di contenere le emissioni e offrire un'alternativa ai motori termici nella transizione alla tecnologia elettrica pura.

In forme di concept, vari costruttori hanno mostrato interpretazioni sul tema e fra questi va menzionata certamente Yamaha con i vari Gen-Ryu del 2005, il Luxair del 2007 o l'HV-X del 2009.

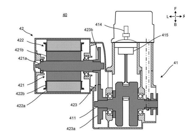
In questo caso un solo radiatore raffredda i due motori
In questo caso un solo radiatore raffredda i due motori
Naviga su Moto.it senza pubblicità
1 euro al mese

Dei nuovi brevetti sono stati depositati da Yamaha al competente ufficio giapponese e mostrano una serie di concetti applicati a moto e scooter. In particolare ve ne sono alcuni che riguardano modelli di scooter di classe medio alta – TMAX compreso - stando agli ingombri di massima.

Riguardano fondamentalmente i principi di layout. Il primo prevede che il motore elettrico agisca direttamente all'uscita dell'albero motore del propulsore termico.
In questo moto viene impiegata una sola unità di trasmissione ottimizzando anche i sistemi di controllo e il motore elettrico può assolvere facilmente alla funzione di generatore di energia per gli accumulatori.

Il concept ibrido Luxair presentato nel 2007
Il concept ibrido Luxair presentato nel 2007

Una seconda versione è di tipo seriale e prevede che il motore termico assolva alla sola funzione di extender-generatore per le batterie (lavorando a un regime ideale in rapporto ai consumi), batterie che possono essere più piccole e quindi leggere e che a loro volta alimentano il motore elettrico a cui è demandata la trazione.

Il concept Yamaha HV-X del 2009
Il concept Yamaha HV-X del 2009

Un altro brevetto prevede infine che il motore elettrico sia posizionato all'interno del forcellone in modo da poter essere accoppiato a motori differenti permettendo una maggiore modularità e liberando spazio ad esempio per il vano sottosella ma penalizzando le masse non sospese.

I brevetti indicano l'accoppiamento con motori termici mono e bicilindrici.

Argomenti

Ultime da News

Caricamento commenti...
Yamaha T-Max 560 (2022 - 24)
Yamaha

Yamaha
Via Tinelli 67/69
20050 Gerno di Lesmo (MI) - Italia
848 580 569
https://www.yamaha-motor.eu/it/it/

  • Prezzo 13.499 €
  • Cilindrata 562 cc
  • Potenza 48 cv
  • Peso 218 kg
  • Sella 800 mm
  • Serbatoio 15 lt
Yamaha

Yamaha
Via Tinelli 67/69
20050 Gerno di Lesmo (MI) - Italia
848 580 569
https://www.yamaha-motor.eu/it/it/

Scheda tecnica Yamaha T-Max 560 (2022 - 24)

Cilindrata
562 cc
Cilindri
2 in linea
Categoria
Scooter Ruote alte
Potenza
48 cv 35 kw 7.500 rpm
Peso
218 kg
Sella
800 mm
Pneumatico anteriore
120/70R15M/C 56H
Pneumatico posteriore
160/60R15M/C 67H
Inizio Fine produzione
2021 2024
tutti i dati

Maggiori info