Un Top Case per allungare l'autonomia delle moto elettriche? Il curioso brevetto di KTM

Un Top Case per allungare l'autonomia delle moto elettriche? Il curioso brevetto di KTM
La casa austriaca registra tre soluzioni modulari e clip-on con batterie extra, mini-generatore a benzina o fuel cell a idrogeno. Un approccio interessante, ma potrebbe davvero superare i limiti delle EV?
19 settembre 2025

L'ansia da autonomia delle moto elettriche potrebbe avere i giorni contati. O, almeno, è ciò che spera KTM che sta sviluppando una soluzione in realtà semplice ma allo stesso tempo ingegnosa: un range extender modulare che si aggancia dietro al pilota come un normale bauletto e nasconde tecnologie diverse per estendere l'autonomia quando serve davvero.

Naviga su Moto.it senza pubblicità
1 euro al mese

La logica è semplice e deriva in qualche modo da quanto già è presente nel mondo delle ebike, ovvero dei range extender che si possono montare soltanto all'occorrenza. Perché portarsi dietro sempre il peso extra di batterie aggiuntive quando la maggior parte dei viaggi sono tragitti brevi? Allo stesso tempo, però, come fare quando abbiamo in programma un viaggio più lungo?

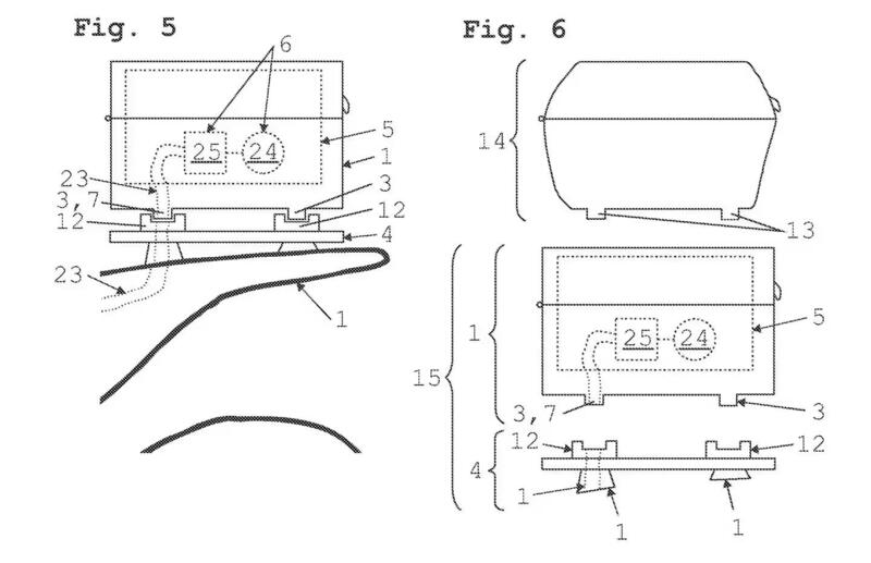
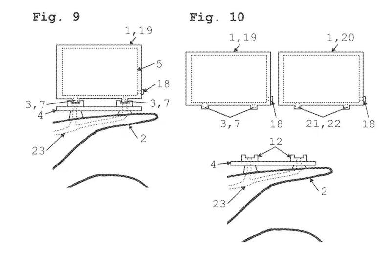
Il brevetto austriaco descrive tre versioni distinte del range extender, tutte identiche nell'aspetto ma radicalmente diverse nel contenuto. Il prototipo illustrato nei documenti ricorda vagamente la Freeride E-XC esistente.

Versione 1: Il mini-generatore

La prima soluzione è un generatore a benzina in miniatura completo di serbatoio, motore a combustione e alternatore. Il sistema può funzionare sia in movimento che da fermo, permettendo teoricamente di ricaricare la moto anche durante una sosta.

Versione 2: La fuel cell a idrogeno

La seconda variante sostituisce il motore con una fuel cell a idrogeno che converte H2 e ossigeno atmosferico in energia elettrica e acqua. Una tecnologia affascinante ma ancora lontana dal mainstream per costi e infrastrutture.

Versione 3: Batterie modulari

La terza opzione è la più pragmatica: un top case riempito di celle aggiuntive. KTM prevede due sottovarianti: una con slot per batterie standardizzate intercambiabili (la casa fa parte del Swappable Batteries Motorcycle Consortium) e una con pacco batteria integrato ricaricabile da casa.

L'idea di fondo è ottenere una moto elettrica più leggera e agile per l'uso quotidiano, che però può trasformarsi in un mezzo a lungo raggio quando necessario. La ricerca dimostra che la maggior parte degli spostamenti in moto sono brevi e già compatibili con l'autonomia delle EV attuali, ma i motociclisti hanno bisogno della sicurezza di poter affrontare anche viaggi più lunghi

Il progetto di KTM è chiaramente in fase concettuale e mancano dettagli cruciali per immaginare prezzi, tempi di sviluppo e specifiche tecniche. Sarà anche interessante capire se questa tecnologia proprietaria verrà riservata alle moto del gruppo oppure verrà pensata come una sorta di accessorio dedicato a tutte le moto elettriche a prescindere dal marchio. Come sempre nel mondo delle innovazioni, sarà l'esecuzione finale e il costo a determinare il successo commerciale. Tuttavia, l'approccio modulare di KTM potrebbe rappresentare una possibile chiave di volta per rendere le moto elettriche più versatili e appetibili.

Fonte: CycleWorld

Ultime da News

Caricamento commenti...

Hot now