Kawasaki, spuntano i brevetti per la futura moto sovralimentata

Kawasaki, spuntano i brevetti per la futura moto sovralimentata
L’analisi dei brevetti depositati dalla Casa di Akashi getta qualche luce in più sul quattro cilindri a compressore esposto al Tokyo Motor Show
10 dicembre 2013

 Non possiamo forse dire che il motore a compressore presentato da Kawasaki in occasione del Tokyo Motor Show sia avvolto in un alone di mistero, stante la sua presenza in bella vista nello stand della Casa di Akashi, ma è altresì vero che gli uomini in verde non abbiano divulgato il minimo dettaglio a riguardo oltre al fatto che si tratti di un quattro cilindri in linea con distribuzione bialbero e che la sovralimentazione sia dovuta appunto all’adozione di un compressore volumetrico e non di un sistema Turbo.

La differenza sostanziale fra i due, come tutti sapranno, sta nel sistema di comando del compressore a cui viene demandata la sovralimentazione: semplificando un po’, laddove il turbo sfrutta la pressione dei gas di scarico attraverso una turbina, il sistema a compressore prevede che l'unità prenda il moto dalla rotazione dell’albero motore. Proseguendo nella semplificazione, il turbo offre come vantaggio una maggior potenza agli alti regimi a fronte di un certo ritardo nella risposta, mentre il sistema a compressore reagisce in tempo reale, ma si “mangia” molta della potenza generata agli alti a causa delle inerzie generate dal compressore stesso. Facile intuire come fra i due compromessi probabilmente sia il secondo quello più adatto alle esigenze motociclistiche.

 

Il posizionamento delle varie componenti indicate sul brevetto lascia intendere un modello ben preciso
Il posizionamento delle varie componenti indicate sul brevetto lascia intendere un modello ben preciso
Naviga su Moto.it senza pubblicità
1 euro al mese

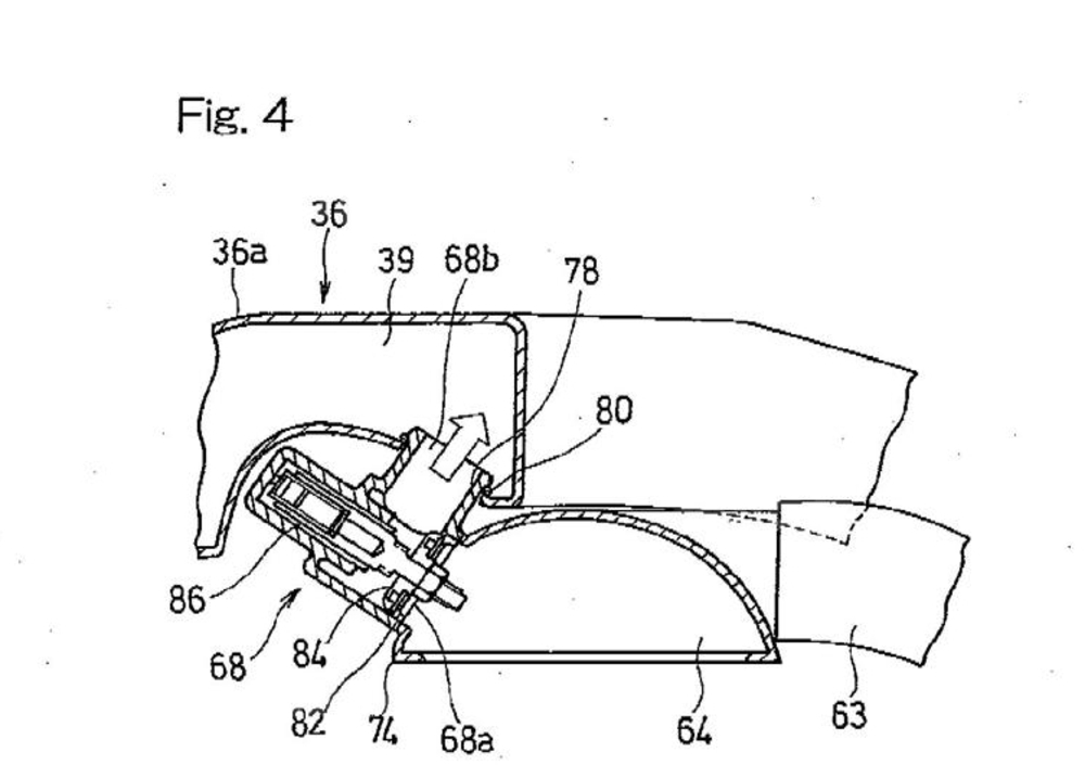
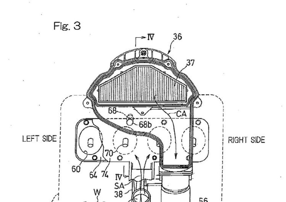
Un’analisi dei brevetti depositati da Kawasaki offre qualche elemento in più, definendo nel dettaglio collocazione delle singole componenti del sistema in maniera tale da ridurre al minimo indispensabile masse ed ingombri, problema che in quest’epoca di massima precisione nella definizione di ergonomia e distribuzione dei pesi assume un’importanza cruciale. Nella fattispecie il compressore e tutto il sistema di aspirazione e filtro vengono collocati posteriormente e/o superiormente alla bancata cilindri, con un collegamento diretto fra i due che lascia intendere come le due unità possano essere affiancate.

 

Ancora più interessante, però, è la possibilità che venga implementato un sistema di trasmissione a rapporto variabile fra motore e compressore, utilizzando due diversi ingranaggi a seconda della velocità del propulsore (ovvero del regime di giri) per sfruttare al meglio l’apporto del compressore, ottimizzando la pressione offerta sulla base della curva d’erogazione specifica del motore.

 

Tutti questi dettagli lasciano intendere un propulsore estremamente sofisticato, con una gestione elettronica estremamente pervasiva e probabilmente molto vicino alla possibilità di una produzione di serie. Il modello su cui tali soluzioni potrebbero debuttare è tutto da immaginare: il disegno che Kawasaki ha utilizzato per il brevetto sfrutta il profilo della ZX-10R, ma dovendo fare ipotesi è più ragionevole immaginarsi un modello sulla falsariga della ZZ-R1400 o della defunta ZX-12R. Terremo d’occhio tutte le evoluzioni della vicenda.

 

Argomenti

Ultime da News

Hot now

Caricamento commenti...