Il cambio della Honda MotoGP, svelato il mistero?

Il cambio della Honda MotoGP, svelato il mistero?
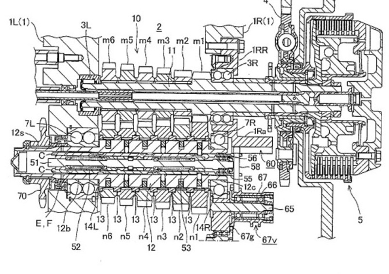
Scovato il disegno tecnico del brevetto depositato dalla Honda per il suo cambio senza "stacchi". Svelato il mistero?
7 aprile 2011

Punti chiave


Nel corso degli anni la Honda ha depositato migliaia e migliaia di brevetti, che ha poi utilizzato solo in minima parte. Quello qui riportato riguarda un cambio senza “stacchi” tra una marcia e l’altra, il cui principio di funzionamento è analogo allo Zeroshift, da noi già descritto. Pure in questo caso gli ingranaggi folli sono disposti in sequenza, dalla prima alla sesta, e si trovano tutti sull’albero secondario. L’innesto dei diversi rapporti si ottiene però non con dei manicotti scorrevoli mossi da forchette ma con un sistema analogo a quello a espansione di sfere, abbastanza impiegato in passato (lo usava, ad esempio, la Zundapp). Anche in questo caso gli elementi di innesto sono realizzati in modo da “far presa” in un senso, mentre dall’altro sono dotati di rampe per il disinnesto automatico. Non c’è da essere sicuri al 100% che il cambio della motoGP sia fatto proprio in questo modo, ma il brevetto è senz’altro di grande interesse.

Naviga su Moto.it senza pubblicità
1 euro al mese
Caricamento commenti...

Hot now