Honda e la frenata autonoma di emergenza

Honda e la frenata autonoma di emergenza
Già disponibile in campo auto, la frenata autonoma di emergenza è in sviluppo anche per le moto. Un brevetto depositato da Honda ne anticipa il funzionamento
17 febbraio 2017

La frenata automatica di emergenza è una realtà in campo automobilistico, Volvo è stata la prima a fornire questo dispositivo di sicurezza di serie e in breve anche altri costruttori hanno reso disponibile questo equipaggiamento sui nuovi modelli.

Il fatto che l'automobile possa rallentare in maniera autonoma quando rileva un pericolo, e fermarsi se necessario, può essere di enorme aiuto nei casi di scarsa visibilità e può anche sopperire alla distrazione evitando un impatto o un investimento.

 

Naviga su Moto.it senza pubblicità
1 euro al mese

 

Honda già dispone di un proprio sistema per le proprie automobili, il Collision Mitigation Braking System. In breve, tramite una telecamera e un sensore radar vengono scansionati i cento metri che precedono la vettura e se ci sono i presupposti per una possibile collisione il sistema si attiva operando su tre stadi di intervento, dall'avviso fino alla frenata decisa.


 

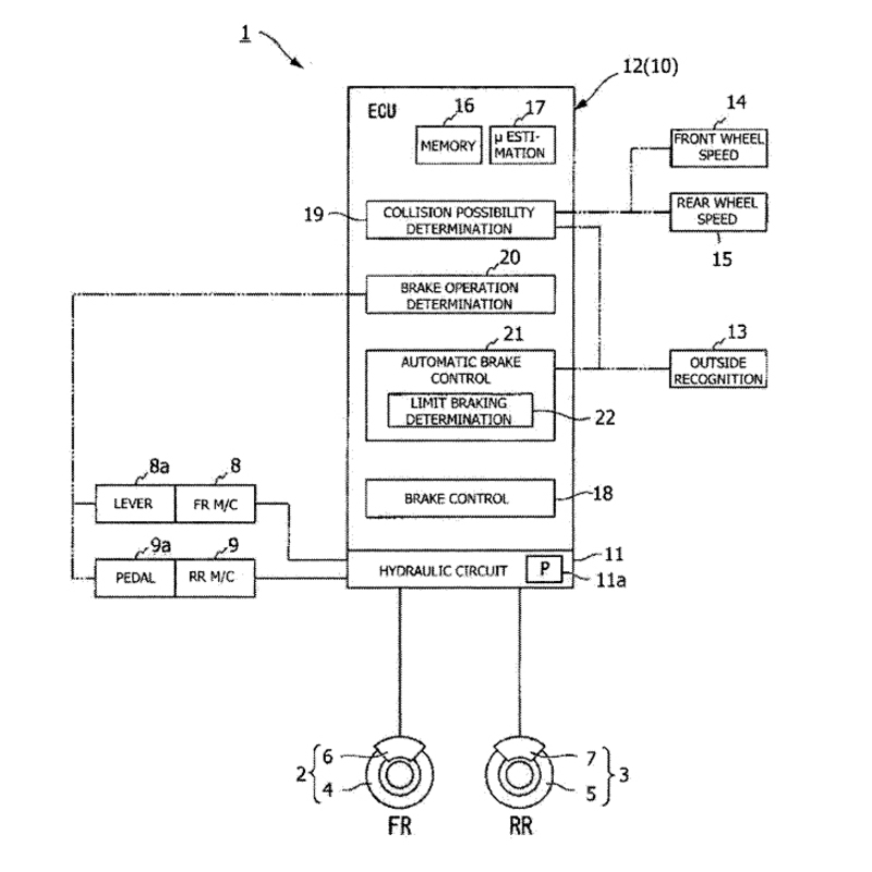
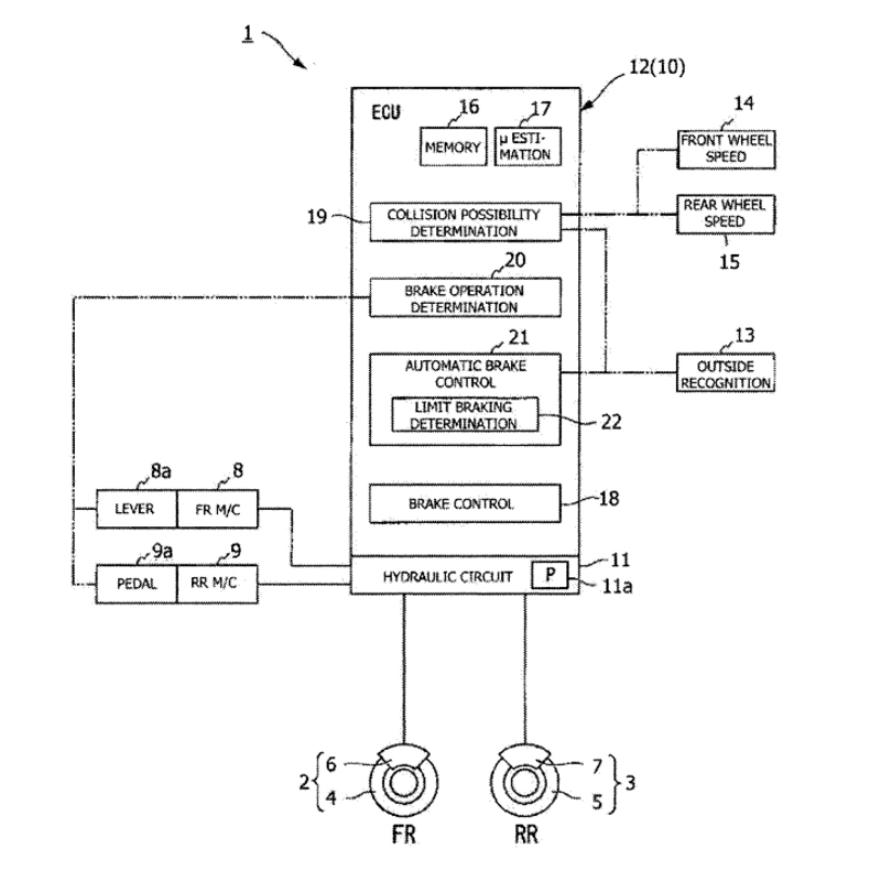
Stando ad alcune immagini di brevetto, parrebbe che Honda stia sviluppando un analogo sistema dedicato alle motociclette. Se è vero che la distrazione nella guida di una moto è un evento poco frequente, il motociclista ne paga facilmente subito le conseguenze, un accorgimento che possa aiutare a rallentare o a fermarsi davanti a un ostacolo improvviso sarebbe di grande aiuto.
Su una moto le difficoltà di misurazione e gestione aumentano, per le variabili dinamiche tipiche del veicolo, e si complicano le modalità di intervento. L' ABS e la piattaforme inerziali sono peraltro utilissime risorse nel raccogliere i dati sulla posizione della moto, sul suo movimento e nel gestirne la frenata anche a moto inclinata.

Non si conosce ancora il funzionamento di questo nuovo sistema, quali sensori siano adottati, in che modo sia ripartita e intervenga la frenata autonoma e, soprattutto, come il sistema interagisca con i comandi del pilota.

Al recente CES di Las Vegas la casa dell'Ala ha presentato l'innovativo Honda Riding Assist, un sistema di autobilanciamento che permette alla moto di restare in equilibrio da sola una volta ferma e di muoversi in equilibrio senza l'intervento del pilota fino alla velocità di 5 km/h.

 

 

Yamaha, da parte sua, ha presentato al Tokyo Motor Show del 2015 il suo Motobot, un robot umanoide i grado di guidare una R1. Lo ha fatto per mostrare come stia lavorando sull'automazione con la finalità di incrementare la sicurezza.

Fermo restando il lato entusiasmante, o semplicemente piacevole, della guida in moto che certamente annulla la necessità della guida autonoma - per occuparsi nel frattempo di che cosa? - è innegabile che la ricerca nel campo della sicurezza passi anche attraverso queste nuove opportunità tecnologiche.

 

Argomenti

Hot now

Caricamento commenti...