Come sarà il prossimo X-ADV? Guardate qui come Honda lo sta modificando

Come sarà il prossimo X-ADV? Guardate qui come Honda lo sta modificando
La Casa giapponese è al lavoro sulla prossima generazione del maxi scooter adventure e gli schemi depositati per un brevetto ci mostrano nuovi gruppi ottici e uno scarico sottosella
18 agosto 2023

In Honda ci avevano visto giusto quando pensarono, ormai quasi un decennio fa, di progettare un anello di congiunzione tra maxi scooter e moto d'avventura. Nel 2015 abbiamo visto così per la prima volta l'X-ADV e come oggi sappiamo si è trattato di un successo commerciale notevole. Anche nel nostro Paese continua ad essere, anche con l'attuale seconda generazione presentata nel 2020, un autentico best-seller nonostante non si tratti di un scooter di fascia ampia pensato per il commuting come il cugino SH. Né il prezzo importante, né le prestazioni da moto vera scoraggiano i fan, anzi quest'ultime ne alimentano di certo l'appetibilità e unicità e c'è chi lo vorrebbe ancora più maxi. Chissà che queste richieste non vengano accolte proprio con la prossima generazione che ipotizziamo possa arrivare su strada proprio allo scadere dei dieci anni, ovvero nel 2025.

Honda al lavoro sulla terza generazione

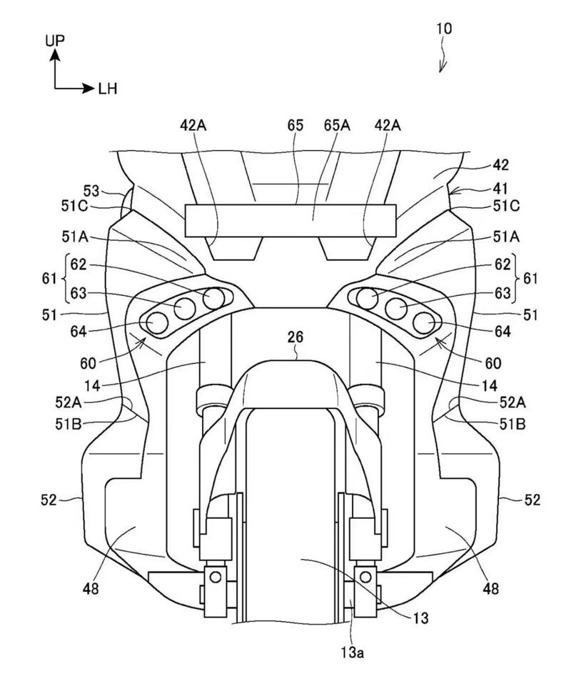
Di certo Honda è al lavoro come sempre sui mezzi del futuro, tra i quali ci sarà la terza generazione di X-ADV. Gli schemi di nuovi brevetti richiesti in Giappone dalla Casa e divulgati in rete dai colleghi di Cycle World ci anticipano oggi come potrebbe apparire. Il nuovo brevetto richiesto da Honda riguarda infatti dei gruppi ottici e ci mostra un veicolo molto simile all'attuale X-ADV, quantomeno riconoscibile come tale, anche se con alcune differenze importanti. Le modifiche si concentrano in particolare su anteriore e posteriore e ci mostrano come le luci siano spostate verso il basso dalla loro posizione convenzionale andando ad occupare la parte inferiore dello scudo. Ci sono tre elementi a LED separati in ciascuno dei due gruppi ottici e una striscia sempre a LED più in alto sul muso per la luce diurna DLR. Ognuna delle tre lampade ha ovviamente il proprio scopo con la coppia interna a fare da anabbaglianti mentre quella centrale è la luce abbagliante. Quelle più esterne infine sono delle luci di svolta e - secondo la tendenza che vedremo sempre più presente sulle moto dei prossimi anni - si illuminano con l'inclinazione della moto in modo da illuminare meglio l'interno della curva.

Naviga su Moto.it senza pubblicità
1 euro al mese

Avrà lo scarico sottosella?

Passando invece al retrotreno si notano sia la coda più rastremata sia lo scarico più voluminoso e posizionato più in alto. Con la terza generazione, X-ADV parrebbe dire addio al terminale di scarico laterale in favore di un posizionamento in pratica sottosella, ancora più off road nell'aspetto e che potrebbe consentire un volume maggiore che ci fa presagire anche un piccolo aumento di cilindrata e/o di potenza. Di certo migliorerebbe ulteriormente l'altezza da terra ma ci viene il dubbio che possa andare a ridurre lo spazio del vano sottosella o produrre del calore per il passeggero. Ovviamente è troppo presto per dirlo e staremo a vedere.

Argomenti

Caricamento commenti...