Buell, che sta facendo?

Buell, che sta facendo?
Erik Buell: un genio o un ingegnere un po’ matto? Ecco uno dei suoi tanti brevetti, con il quale praticamente elimina del tutto la cosiddetta “marmitta”
26 novembre 2010

 

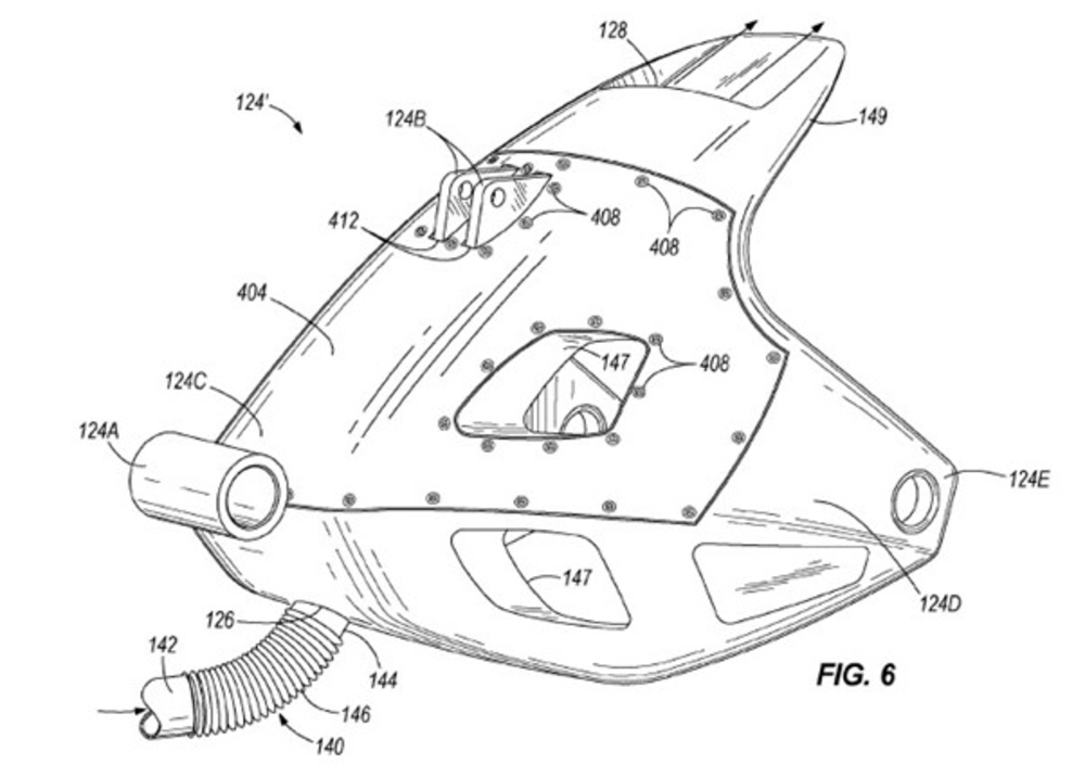
Che Erik Buell sia uno che non sta mai con le mani in mano non è certo un mistero. Lo testimonia questo suo interessante brevetto, atto ad eliminare completamente il silenziatore dell’impianto di scarico, dopo essere stato il primo a produrre in serie delle motociclette con il terminale sotto al motore, per abbassare ed accentrare il più possibile le masse e guadagnare guidabilità.

Ma dove lo vuole mettere, Buell, ‘sto benedetto silenziatore? Che domande! Nel forcellone posteriore, no? Come si può arguire osservando i disegni del brevetto di Buell (intercettati dalla Banda Bassotti di Visordown), infatti, i collettori di scarico convergerebbero in un unico tubo snodato, in modo da seguire le oscillazioni del forcellone posteriore, progettato in modo da fungere esso stesso da silenziatore.
Questa ingegnosa soluzione dovrebbe servire a risparmiare peso, anche se il forcellone stesso – perlomeno in teoria, con Buell non si sa mai… - a questo punto dovrebbe pesare di più: dunque si tratterebbe di peso in movimento oscillante, che andrebbe a gravare sul lavoro della sospensione.

Imme R100
Imme R100
Naviga su Moto.it senza pubblicità
1 euro al mese

 Questo brevetto in realtà è stato registrato nell’aprile del 2009, il che significa che, tecnicamente parlando, apparterrebbe ad Harley-Davidson, e non alla nuova società Erik Buell Racing, formata successivamente alla decisione della Casa madre di non produrre più motociclette Buell, lasciando all’estroso progettista la gestione sportiva del suo ex Marchio.
Per la cronaca, non è la prima volta che qualcuno ha pensato di utilizzare il forcellone come impianto di scarico. Questa soluzione venne infatti concretizzata dalla tedesca Imme, applicandola alla sua motoleggera R100 monocilindrica a 2 tempi dei primissimi anni ’50, e pochi anni dopo lo fece anche l’Aermacchi, con il simpatico modello U (125 due tempi).


Maurizio Tanca
Fonte disegni: Visordown
 

 

Ultime da News

Hot now

Caricamento commenti...