CF Moto al lavoro su una futura full electric sportiva

CF Moto al lavoro su una futura full electric sportiva
Intercettati disegni e brevetti per una nuova sportiva elettrica: anticipano il probabile arrivo di un modello green dal carattere sportivo
27 agosto 2025

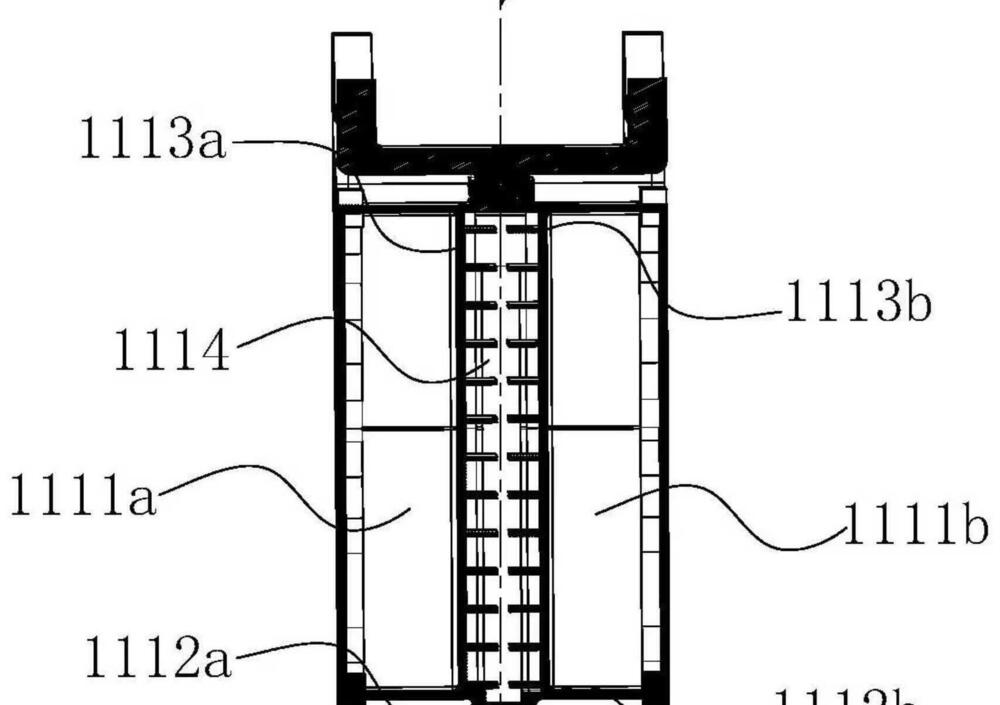
CFMoto, registra disegni e brevetti che svelano un più che probabile futuro anche nel segmento delle moto elettriche. A quanto pare il costruttore cinese sta lavorando a una sportiva elettrica con soluzioni tecniche esclusive e un design accattivante che richiama la 675SR-R dotata di motore endotermico. Dai disegni si osserva che l’oggetto principale del o dei brevetti è il telaio che offre la possibilità di ospitare batterie e motore elettrico. Il resto lo faranno le linee aggressive, tipiche della sportiva di CF Moto, con una ciclistica progettata per favorire prestazioni dinamiche.

CFMoto, che già vanta una gamma variegata di modelli a benzina in diversi segmenti, dall’enduro alle naked, compie così un passo verso l’elettrificazione. Sebbene non si abbiano ancora informazioni ufficiali di nessun genere, il solo atto di depositare tali brevetti evidenzia l’interesse di CFMoto a diversificare la propria offerta. A quanto pare anche questo marchio si prepara ad affrontare la sfida dell’elettrico, puntando su design e tecnologia per attrarre un pubblico giovane e attento alle nuove tecnologie.

Naviga su Moto.it senza pubblicità
1 euro al mese

Maggiori dettagli sono attesi nei prossimi mesi, quando la casa cinese potrebbe svelare il modello destinato a entrare in produzione e successivamente distribuito nel mercato globale.

Foto: Cycleworld.com

Caricamento commenti...

Hot now