Brevetto Honda, un 2T a iniezione indiretta

Brevetto Honda, un 2T a iniezione indiretta
E' stato depositato da Honda il brevetto di un motore a due tempi a iniezione e munito di valvola di scarico. Equipaggerà una futura moto?
4 agosto 2015

I motori a due tempi sono stati accantonati perché notevolmente più inquinanti dei quattro tempi e più assetati di carburante. Vengono ancora impiegati sulle piccole cilindrate economiche, ma ci sono anche dei buoni esempi di applicazione nel motocross, vedi Yamaha, e ci sono sistemi per rendere più “puliti” i motori a due tempi nelle applicazioni nautiche e in altri campi dove i regimi di rotazione del motore non sono particolarmente elevati.
E' noto che KTM e altre marche importanti stanno comunque sviluppando dei nuovi propulsori a due tempi perché alcune caratteristiche peculiari, quali leggerezza, semplicità e prestazioni, rimangono a vantaggio di questo schema. Il fatto poi che Honda, la prima ad aver adottato lo schema a quattro tempi per tutte le sue moto e i suoi scooter e ad aver spinto per il motomondiale a quattro tempi dopo essere tornata a vincere grazie ai tre e quattro cilindri 500 abbandonando il progetto 4T, abbia depositato il brevetto per un motore a due tempi fa quindi effetto.

La Honda EXP-2 del 1995
La Honda EXP-2 del 1995
Naviga su Moto.it senza pubblicità
1 euro al mese

E' anche giusto ricordare che Honda nel 1995 corse il rally Granada-Dakar con la EXP-2, una 400 monocilindrica a 2T che vinse la sua categoria, proprio per sperimentare sul campo un nuovo concetto di motore potente e meno inquinante grazie alla particolare combustione e alla singolare valvola che chiudeva la luce di scarico per limitare la perdita di gas freschi.


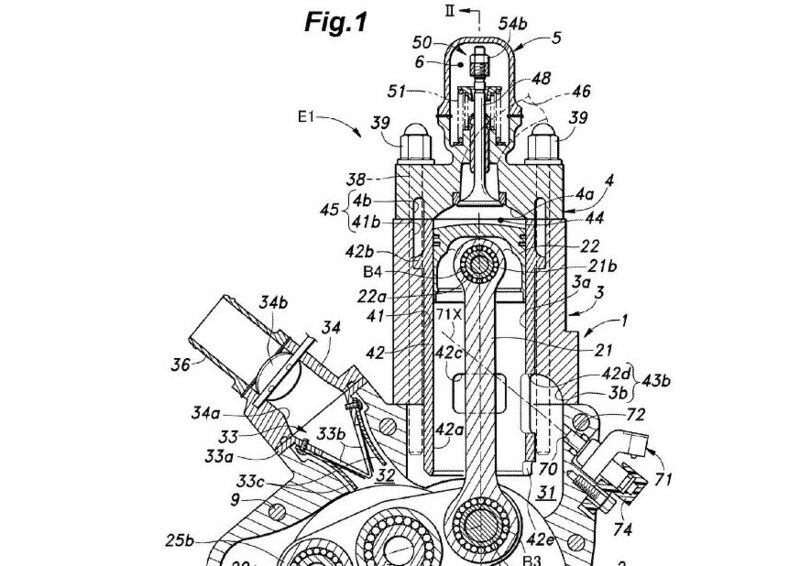
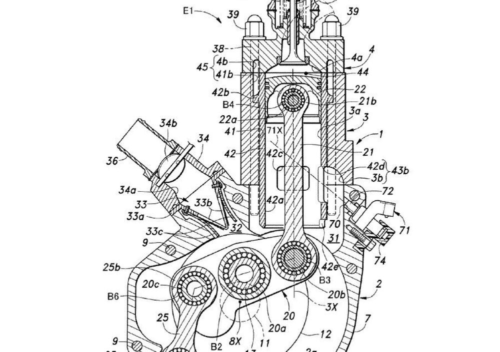
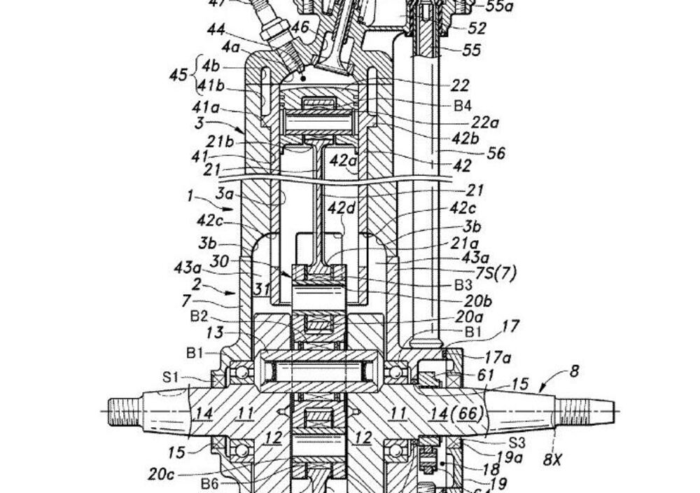
Il motore in questione è un monocilindrico a corsa lunga privo di cambio. L'ammissione è regolata da valvola a lamelle posta nel basamento e l'aria è regolata da una valvola a farfalla sopra di essa. L'iniezione di carburante avviene tramite un iniettore orientato obliquamente nella luce principale alla base del cilindro, sotto al pistone (stando al brevetto il getto polverizzato ha funzione aggiunta di raffreddamento e lubrificazione), mentre il controllo dello scarico è demandato a una valvola a fungo nella testata (sulla falsa riga dei diesel a due tempi), aperta da un comando ad asta e bilanciere. La relativa camma di comando è coassiale all'albero motore. Considerate la corsa lunga, l'architettura, la forma della camera di manovella e la prevedibile scarsa capacità di ruotare ad alti regimi, questo motore non pare insomma adatto a un'applicazione motociclistica. Resta insomma da capire se il concetto dell'iniettore non in camera di combustione potrà avere seguito in campo motociclistico. Ne seguiremo gli sviluppi.

Argomenti

Caricamento commenti...