Honda: Un brevetto svela un nuovo motore V4 con dettagli interessanti.

Honda: Un brevetto svela un nuovo motore V4 con dettagli interessanti.
Un brevetto depositato da Honda svela un nuovo motore V4 con dettagli interessanti.
12 dicembre 2025

Questa è una notizia molto stimolante per gli appassionati di Honda e di motori ad alte prestazioni! Il ritorno del motore V4 è un evento atteso e i dettagli emersi dai brevetti indicano che Honda sta lavorando a un progetto estremamente avanzato e mirato a superare i limiti del passato.
Dopo aver interrotto la produzione della storica serie V4 (VF/VFR) nel 2020, Honda sta lavorando intensamente per reintrodurre questa iconica architettura. Due nuovi brevetti, depositati a maggio 2024 e divulgati a fine 2025, rivelano soluzioni tecniche complesse e un focus sull'efficienza e sulla riduzione degli sforzi di produzione.

Naviga su Moto.it senza pubblicità
1 euro al mese

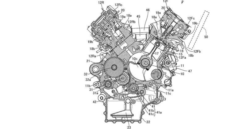
I brevetti non si concentrano solo sul motore, ma su soluzioni ingegneristiche innovative volte a risolvere i problemi di peso e complessità del precedente V4 da 1200 cc.

1. Nuovo Circuito dell'Olio

Un brevetto è dedicato a un circuito dell'olio completamente riprogettato per ridurre l'attrito interno nelle pompe dell'olio. L'obiettivo è ottimizzare la lubrificazione di componenti come alternatore, frizione di avviamento, pompa dell'acqua e frizione, utilizzando piccoli serbatoi ausiliari integrati nell'alloggiamento.

  • Questo sistema mira a utilizzare linee più corte, contribuendo alla notevole compattezza del motore e della trasmissione visibile nei disegni.

2. Metodo di Assemblaggio

Il secondo brevetto descrive un nuovo metodo per bullonare la testata al basamento. Sebbene illustrato su un motore bicilindrico in linea (R2), che può essere considerato metà di un V4, l'obiettivo è semplificare l'assemblaggio e ridurre gli spessori di materiale che avevano reso il V4 1200 così massiccio.

3. Innovativo Sistema di Raffreddamento

Il brevetto più rivelatore mostra un nuovo metodo di raffreddamento che utilizza tubi nella "V" tra le bancate dei cilindri.

  • Priorità: Il sistema è progettato per dare priorità al raffreddamento della bancata posteriore, un punto critico nei motori V con cilindri ravvicinati.

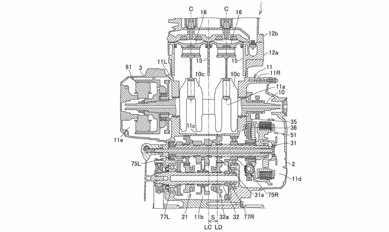
Nonostante l'impressionante livello di dettaglio, i brevetti lasciano aperte alcune domande cruciali sull'architettura interna, che influenzeranno in modo significativo le prestazioni e il suono del nuovo V4.
L'inclusione di un albero di bilanciamento e l'apparente angolo di 90 gradi indicano che il nuovo V4 Honda potrebbe avere un suono e un carattere più vicini ai vecchi VFR 750/800 ("screamer") piuttosto che al big bang del VFR 1200.
Il livello di dettaglio nei disegni fa pensare che Honda sia in una fase di sviluppo ben più avanzata rispetto alla mera registrazione delle invenzioni. Tuttavia, l'esperienza passata suggerisce cautela: i brevetti sono stati depositati a maggio 2024. È probabile che la commercializzazione di un nuovo modello V4 sia ancora a un paio d'anni di distanza.

La speranza, alimentata da questi dettagli tecnici rivoluzionari, è che il ritorno del V4 Honda possa infiammare nuovamente il segmento delle sport tourer e delle supersportive stradali.

Caricamento commenti...

Hot now