Honda e il “sensore” che riconosce il fuoristrada

La Casa giapponese al lavoro su un sistema in grado di riconoscere il tipo di terreno off-road affrontato, e di intervenire immediatamente sulla taratura delle sospensioni
24 settembre 2019

Le sospensioni semiattive sono una realtà nella produzione di serie dei modelli stradali e su alcune maxi enduro.

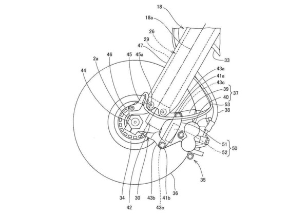
Un recente brevetto Honda mostra come la Casa giapponese stia lavorando a un sistema elettronico di adattamento delle sospensioni nel fuoristrada. Come modello esplicativo è stata scelta una CRF450R.
Da quello che i disegni di brevetto mostrano, forcelle di tipo adattivo (attive e passive) sono equipaggiate di sensori in grado di misurare velocità e ampiezza delle escursioni durante la guida in fuoristrada.

In base a mappature preimpostate, un software è quindi in grado di riconoscere immediatamente, e quindi prevedere, il tipo di terreno che si sta affrontando passando magari da quello sassoso a quello fangoso, o sabbioso, e intervenendo di conseguenza sulla regolazione delle sospensioni in tempo reale.

fonte Soymotero.net

Naviga su Moto.it senza pubblicità
1 euro al mese

Argomenti

Hot now

Caricamento commenti...