Kawasaki, un brevetto di comando cambio elettronico

Kawasaki, un brevetto di comando cambio elettronico
Depositato in Giappone, da Kawasaki, un brevetto che consente di cambiare le marce dal manubrio e apre al cambio automatico
27 gennaio 2021

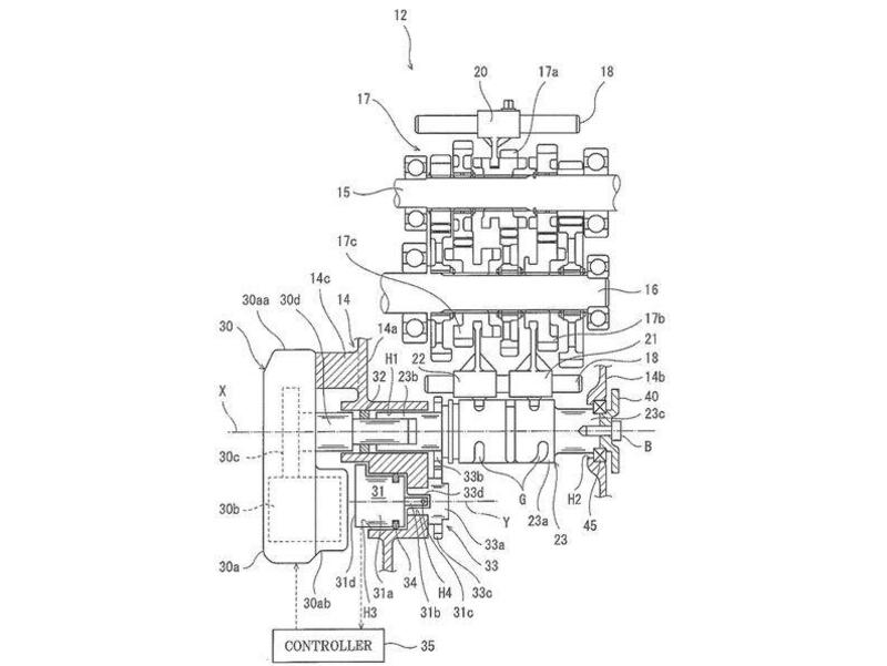
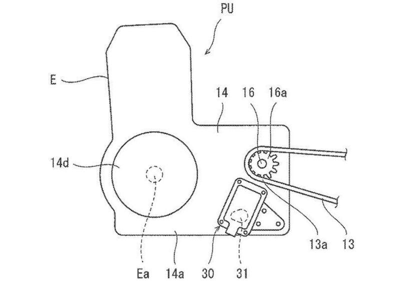
Il brevetto è stato depositato all'ufficio competente giapponese nel 2019 e riguarda un comando della cambiata a gestione elettronica composto da un attuatore elettrico che sostituisce la leva del comando a pedale (il cambio è di tipo meccanico tradizionale) e da pulsanti/palette di comando posizionati sul manubrio.

La moto scelta per posizionare le parti è una Z1000SX precedente al 2019 ma, ricordiamo, l'oggetto del brevetto è il dispositivo e non la moto sul quale applicarlo.

Naviga su Moto.it senza pubblicità
1 euro al mese

Di fatto questo sistema potrebbe essere adattato a diversi motori e quindi a più modelli. Fra l'altro la moto illustrata non ha la leva della frizione, il che presupporrebbe un'applicazione – più razionale - abbinata a una frizione ad azionamento automatizzato e a gestione elettronica.

Niente a che vedere con un quickshifter, ma piuttosto qualcosa che va nella direzione della guida semplificata e più confortevole su modelli sport touring, touring o cruiser senza un eccessivo aggravio di costi e pesi.

L'azionamento elettronico della cambiata è poi naturalmente necessaria nel caso si voglia realizzare un cambio del tutto automatico, che possa eventualmente interagire con mappe motore o sistemi di assistenza alla guida quali il cruise control adattivo.

fonte cycleworld.com

Caricamento commenti...