I segreti del cambio DRG Ducati

I segreti del cambio DRG Ducati
Con l'avvio della stagione 2026, si fa sempre più concreta l'ipotesi che le soluzioni estreme viste finora solo sulla Panigale V4 R stiano per diventare lo standard per l'intera gamma delle supersportive di serie
16 gennaio 2026

La presentazione della Panigale V4 R 2026 ha svelato molto più di una semplice "homologation special" da 235 CV. Al centro dell'attenzione dei tecnici e degli appassionati c'è il nuovo Ducati Racing Gearbox (DRG), una tecnologia che promette di riscrivere le regole della cambiata e che, grazie a un innovativo brevetto, potrebbe presto sbarcare sui modelli di grande serie.

Il sistema DRG rompe con la tradizione del cambio stradale (la classica sequenza 1-N-2...). Adottando lo schema tipico delle moto da competizione, la folle viene spostata in fondo alla scala, al di sotto della prima marcia.

  • Perché in pista: Nelle frenate più violente, quando il pilota scala le marce in rapida successione, il rischio di "beccare" la folle tra prima e seconda è nullo. Si ha sempre il freno motore a disposizione, garantendo stabilità e sicurezza nell'inserimento in curva.

  • Il problema stradale: In una moto comune, questo schema sarebbe fastidioso perché permetterebbe di inserire accidentalmente la folle durante una scalata urbana.
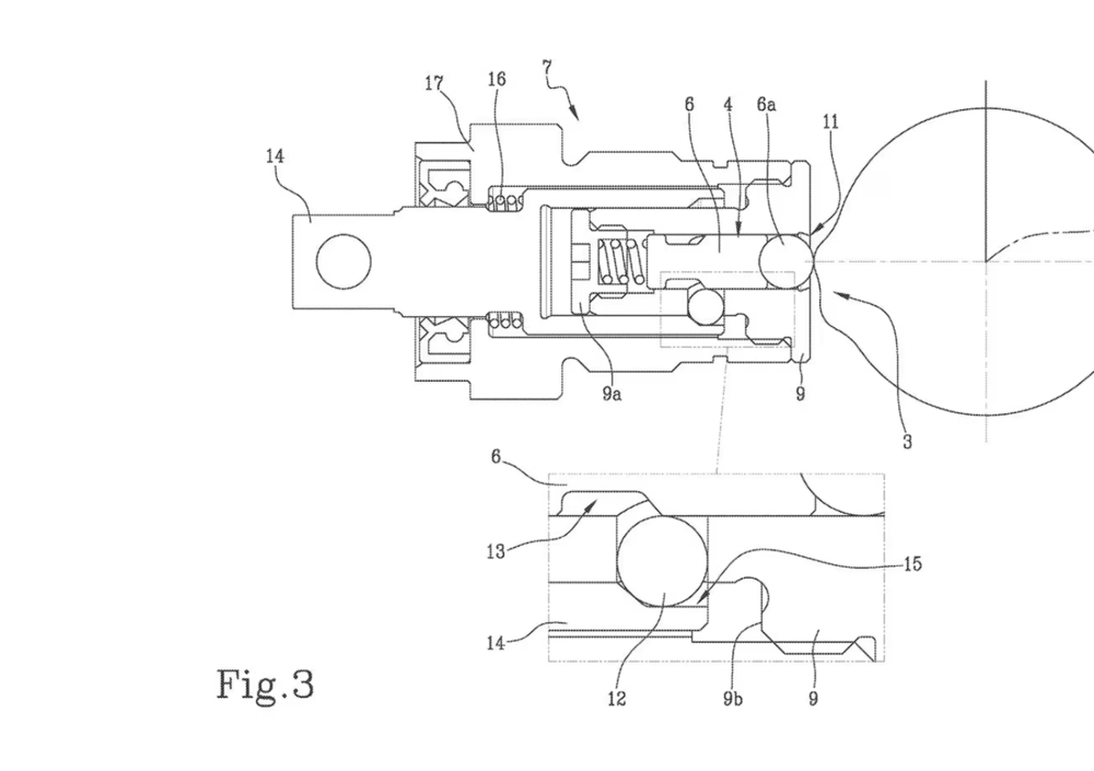
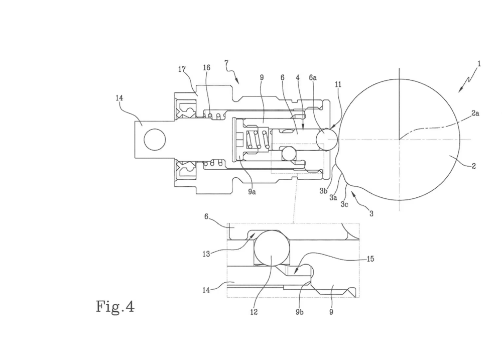
    La soluzione di Borgo Panigale è il Ducati Neutral Lock, un sistema di blocco meccanico tanto efficace quanto semplice. A differenza dei complessi sistemi elettronici, il DNL si affida a una camma meccanica e a un sistema di sfere di bloccaggio:

  • Il comando: Per inserire la folle, il pilota deve premere un'apposita levetta sul manubrio destro (simile a quella del freno posteriore a pollice delle MotoGP) mentre aziona il pedale.

  • La meccanica: Il sistema è composto da soli 12 pezzi, un numero ridottissimo che riduce drasticamente i rischi di guasto e, soprattutto, i costi di produzione.

Naviga su Moto.it senza pubblicità
1 euro al mese

È proprio la semplicità costruttiva del DNL ad alimentare le indiscrezioni su un imminente allargamento di questa tecnologia ad altri modelli.

l brevetto mostra un design così economico da poter essere integrato persino in modelli di cilindrata inferiore, qualora Ducati decidesse di uniformare l'esperienza di guida della propria gamma sportiva.

Caricamento commenti...