Dan Gurney e il suo geniale motore

Dan Gurney e il suo geniale motore
Dagli USA e da un vecchio protagonista della scena motoristica, Dan Gurney, una proposta fuori dagli schemi per un bicilindrico ad alberi controrotanti. Con radici nelle Velocette e nelle Kawasaki da corsa
17 settembre 2015

Gli appassionati non più tanto giovani si ricorderanno sicuramente di Dan Gurney, coraggioso e veloce pilota di auto da corsa degli anni Sessanta. Questo grande protagonista della scena sportiva, con al suo attivo tra l’altro una 24 ore di Le Mans e quattro gran premi di Formula Uno, è anche un valido tecnico, tanto è vero che esiste una appendice aerodinamica che porta il suo nome (Gurney flap). Fondatore della famosa scuderia All American Racers (AAR), nella seconda metà degli anni Sessanta è stato l’anima di una iniziativa che ha portato alla realizzazione di un moderno V12 da Gran Premio di 3000 cm3 disegnato da Aubrey Woods e con fluidodinamica curata da Harry Weslake. Questo motore con distribuzione bialbero e quattro valvole per cilindro, che ha fatto la sua apparizione nel 1966, ha consentito allo stesso Gurney di imporsi l’anno successivo nel GP del Belgio. Tra le sue caratteristiche spiccava un angolo tra le valvole nettamente minore di quelli che si usavano all’epoca: soli 30° (un valore leggermente inferiore, rispetto a quello impiegato nel V8 Cosworth comparso poco dopo). Sotto questo aspetto quindi mostrava la strada.
 

Dalla F1 alle moto feet forward

Una volta ritiratosi dalla attività agonistica Gurney ha continuato a interessarsi al motorismo. Negli anni Ottanta ha iniziato a pensare anche al settore motociclistico. Dopo una serie di prototipi e una lunga serie di prove, all’inizio degli anni Duemila ha cominciato a produrre, in numeri limitati, delle moto caratterizzate da un assetto di guida anticonvenzionale: il pilota è infatti seduto con i piedi che vengono a trovarsi davanti al corpo. Una posizione che ricorda quella tipica di alcuni maxiscooter; qui però si tratta di vere moto, con pneumatici di grande diametro e motore collocato in posizione convenzionale, ossia subito dietro la ruota anteriore. Per le sue moto, denominate Alligator e tutte dotate di questa architettura (FF, ovvero feet forward), Gurney ha utilizzato inizialmente un monocilindrico Honda e successivamente alcune versioni del noto bicilindrico ad aste e bilancieri S & S, con cilindrate di 1,8 e di 2,0 litri. Con l’obiettivo di ottenere prestazioni più elevate, senza rinunciare però a una erogazione corposa a tutti i regimi, ha poi sviluppato un bicilindrico a V di 45° che utilizza il basamento e l’imbiellaggio del motore S & S, opportunamente modificati, ma impiega teste bialbero a quattro valvole ed è raffreddato ad acqua; la potenza è nettamente superiore ai 200 cavalli.


 

Naviga su Moto.it senza pubblicità
1 euro al mese

Gurney e il progettista Palmgren hanno ideato un bicilindrico parallelo raffreddato ad acqua che abbina il meglio di quanto offerto dalla attuale tecnica motoristica, e con una architettura molto inconsueta

Non contenti, Gurney e il progettista Palmgren di recente hanno ideato un bicilindrico parallelo raffreddato ad acqua che abbina il meglio di quanto offerto dalla attuale tecnica motoristica (ridotto angolo tra le valvole, che ovviamente sono quattro per cilindro, comando dei due alberi a camme affidato a una cascata di ingranaggi, etc…) con una architettura molto inconsueta, anche se non del tutto inedita. Il motore infatti è dotato di due alberi a gomito controrotanti, in presa tra loro mediante una coppia di ruote dentate. Si tratta quindi di un bicilindrico “in tandem”. La soluzione consente di eliminare le vibrazioni. Basta infatti contrappesare al 100% ciascuno dei due manovellismi e fasarli correttamente (con i due pistoni che vanno assieme al punto morto superiore e, 180° dopo, al punto morto inferiore). Inoltre, permette anche di annullare l’effetto giroscopico in quanto i due alberi girano in sensi opposti.

 

Da MZ a Kawasaki

L’architettura in tandem per i motori bicilindrici è stata adottata dalla MZ per una sua 125 da Gran Premio comparsa nel 1969 e un paio di anni dopo anche per una 250, entrambe rimaste allo stadio di prototipo in quanto la casa tedesca stava abbandonando le gare di velocità. Era stata scelta dall’ing. Walter Kaaden perché, mantenendo l’ammissione a disco rotante, consentiva di ridurre drasticamente la larghezza rispetto ai bicilindrici paralleli frontemarcia; aumentava però la lunghezza del motore. I due alberi a gomito non erano in presa tra loro, ma con una corona dentata direttamente collegata alla frizione. Di conseguenza, giravano nello stesso verso.

 

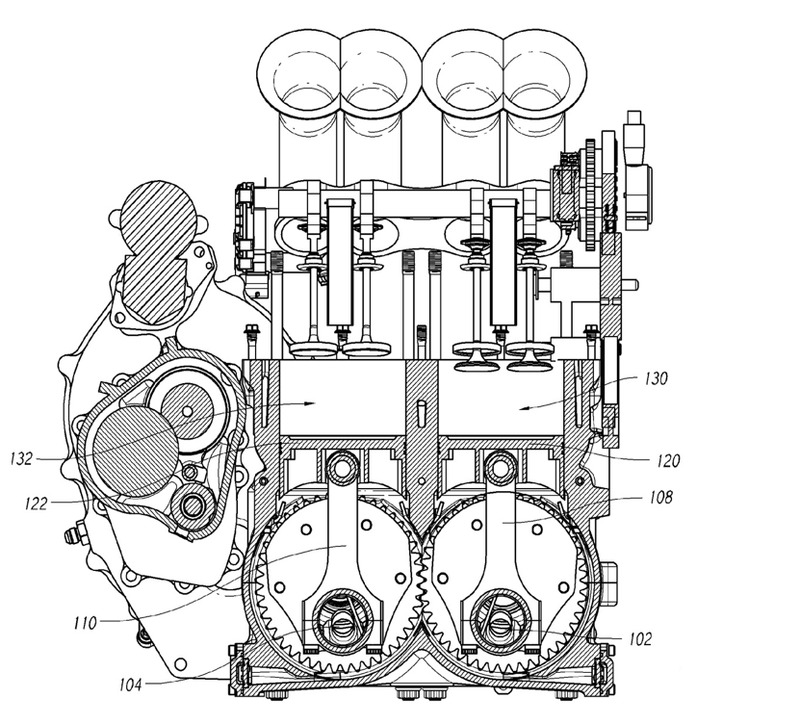
La sezione longitudinale mostra chiaramente i due ingranaggi che collegano gli alberi a gomito controrotanti e assicurano una perfetta equilibratura. La lubrificazione è a carter secco
La sezione longitudinale mostra chiaramente i due ingranaggi che collegano gli alberi a gomito controrotanti e assicurano una perfetta equilibratura. La lubrificazione è a carter secco

Sotto questo aspetto la strada scelta dagli altri costruttori che in seguito hanno adottato una architettura in tandem per i loro bicilindrici (sempre a due tempi da competizione con ammissione a disco rotante) è stata diversa. Tanto nei Kawasaki KR 250 e 350, vincitori di otto titoli mondiali, quanto nel Rotax tipo 256, grande protagonista dei GP degli anni Ottanta, i due alberi erano infatti controrotanti e in presa tra loro.

È interessante osservare che i motori con quattro cilindri in quadrato possono essere considerati dei bicilindrici in tandem “accoppiati”. Occorre anche ricordare che alla fine degli anni Trenta la Velocette ha realizzato un motore da competizione di 500 cm3 con due cilindri paralleli e due alberi a gomito (in presa tra loro tramite coppia di ingranaggi) con asse di rotazione longitudinale. Passato alla storia come “Roarer”, questo interessante bicilindrico progettato da Harold Willis aveva la distribuzione monoalbero ed era dotato di un compressore volumetrico Centric. Lo scoppio della seconda guerra mondiale ha impedito che venisse sviluppato come avrebbe indubbiamente meritato. Meno noto è il prototipo di 700 cm3 con eguale architettura, ma con distribuzione ad aste e bilancieri, sul quale la casa inglese stava lavorando nello stesso periodo.

I cosiddetti motori a "U" erano dotati di due file parallele di cilindri, con alberi a gomiti collegati mediante ingranaggi a uno stesso albero di uscita. Ne hanno realizzati costruttori automobilistici come la Fiat (tipo 406 da GP, nel 1927) e la Bugatti. Pure la Miller e la Maserati hanno adottato una soluzione di questo genere per un paio di loro realizzazioni, con le file di cilindri che però non erano perfettamente verticali ma leggermente a V. Vanno anche ricordati i motori a U per impiego ferroviario della Sulzer (serie LD), costruiti per lungo tempo in numeri considerevoli, in versioni con 6, 8 e 12 cilindri.

 

Il compatto bicilindrico sul quale Gurney e Palmgren stanno lavorando alacremente (è prevista la costruzione di cinque prototipi) ha una cilindrata di 1800 cm3, ottenuta abbinando un alesaggio di ben 127 mm con una corsa di 71 mm, ed è dotato di variatori di fase. La potenza prevista una potenza dell’ordine di 280 cavalli, con una coppia mostruosa ai bassi regimi. L’architettura costruttiva è stata brevettata, benché come visto non sia del tutto inedita. Le prove al banco dovrebbero iniziare nel giro di due o tre mesi.  

Caricamento commenti...