Yamaha: trasmissione automatica semplificata

Yamaha: trasmissione automatica semplificata
Un brevetto depositato da Yamaha mostra un cambio semi-automatico a basso costo che potrebbe essere montato su qualsiasi motocicletta convenzionale
19 gennaio 2026

Non più un lusso per pochi, ma uno standard per tutti. Mentre il sistema Y-AMT debutta con successo sulle nuove Tracer 7 e MT-07 MY 2026, Yamaha è già pronta al passo successivo. Nuovi brevetti depositati dalla casa dei Tre Diapason svelano una versione "democratica" del cambio semiautomatico, progettata per essere semplice, economica e applicabile a quasi ogni moto convenzionale in listino.

Ecco come Yamaha punta a sbaragliare la concorrenza di Honda e BMW con una soluzione ingegneristica d'avanguardia.

Naviga su Moto.it senza pubblicità
1 euro al mese

L'attuale tecnologia Y-AMT, pur eccellente, si affida a due motori elettrici distinti per gestire frizione e selettore. La nuova variante "Semplificata" cambia le carte in tavola:

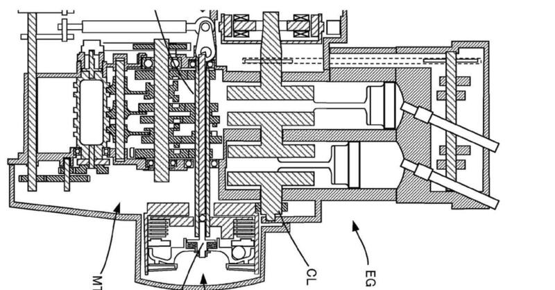
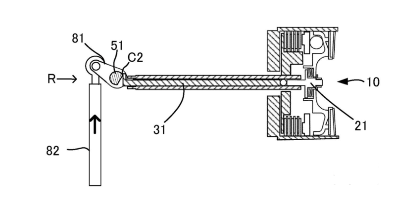
  • Un solo "cervello" meccanico: Il sistema riesce a eliminare uno dei due attuatori. Un singolo servocomando elettromeccanico aziona simultaneamente, tramite un raffinato gioco di leveraggi, sia la frizione che l'albero del cambio.

  • Integrazione esterna: A differenza dei sistemi integrati che richiedono basamenti motore specifici, questo modulo viene montato esternamente. Di fatto, sostituisce il pedale del cambio originale, permettendo a Yamaha di "automatizzare" i motori esistenti (come il leggendario CP2 o CP3) senza costose riprogettazioni.

Se l'attuatore singolo gestisce il passaggio tra le marce, il problema delle partenze e delle soste viene risolto con un ritorno a una tecnologia collaudata ma evoluta: la frizione centrifuga.

  • Stop-and-Go senza pensieri: Esattamente come accade sugli scooter, la frizione si disinnesta automaticamente quando i giri motore scendono al minimo.

  • Addio leva al manubrio: Il pilota può fermarsi in marcia e ripartire semplicemente ruotando l'acceleratore. Il sistema gestisce l'aggancio dei dischi in modo fluido, eliminando il rischio di spegnimento del motore (stallo) nel traffico urbano.
     

    L'obiettivo di Iwata è chiaro: rendere il cambio automatico un'opzione accessibile anche sui modelli d'attacco.

  • Dalla città al viaggio: Se l'Y-AMT "standard" continuerà a equipaggiare le ammiraglie come la Tracer 9, questa versione semplificata è la candidata ideale per modelli come la Ténéré 700, la XSR700 o le piccole cilindrate della serie R3 e MT-03.

  • Semplicità di guida: Con la pressione di un pulsante o in modalità totalmente automatica, Yamaha punta a conquistare sia i neofiti che cercano facilità, sia i motociclisti esperti che vogliono concentrarsi solo sulle traiettorie tra le curve.

  • Questa mossa segna una svolta: il cambio automatico smette di essere un "accessorio pesante" (il peso aggiunto del sistema Y-AMT è di soli 2,8 kg) per diventare una componente universale, capace di cambiare il modo in cui vivremo la moto nei prossimi anni.