GM pensa in 2T

GM pensa in 2T
General Motors pubblica il brevetto per un motore a due tempi
2 dicembre 2025

Una delle più grandi case automobilistiche del pianeta, la General Motors (GM) ha depositato un brevetto che punta a superare i limiti dei motori a due tempi tradizionali, introducendo un design meccanico radicalmente nuovo.

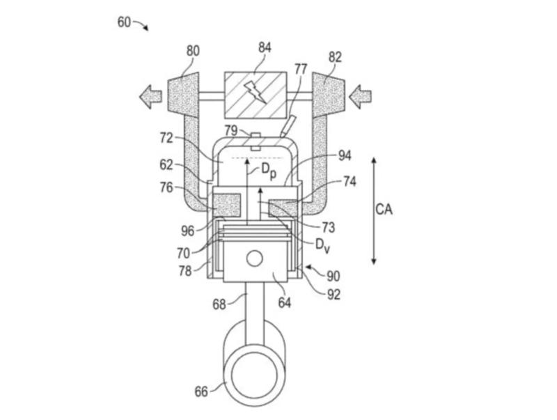
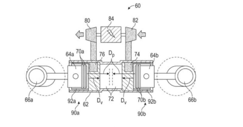
A differenza dei classici due tempi, che utilizzano luci fisse nel cilindro controllate da valvole lamellari o rotative, il progetto GM si basa su una camicia mobile posizionata tra il pistone e la parete del cilindro. Questa camicia si muove in sincrono con il pistone: si apre per l'ingresso dell'aria di sovralimentazione, si sigilla per la fase di combustione e poi si riapre per lo scarico dei gas, il tutto facilitato da un attuatore.

Soluzione Contro l'Usura

L'innovazione più significativa riguarda la gestione delle fasce elastiche del pistone. Nelle architetture tradizionali, il rischio che le fasce tocchino i bordi delle luci del cilindro è una causa comune di usura e danni.

Il design GM risolve questo problema: la camicia mobile supporta il movimento delle fasce elastiche, agendo come una sorta di "trasportatore" che le guida oltre la luce. Questo accorgimento non solo contribuisce al funzionamento più regolare del motore, ma riduce drasticamente l'attrito e l'usura interna, prolungando la vita utile del propulsore.

Naviga su Moto.it senza pubblicità
1 euro al mese

Nonostante l'ingegnosità del design a camicia mobile, al momento rimane un punto interrogativo cruciale: non è chiaro se il sistema potrà essere utilizzato per aggiungere una sorta di fasatura variabile delle valvole al motore a due tempi, ottimizzando l'apertura delle luci in base ai regimi.

È necessario, tuttavia, accogliere questo annuncio con cautela: i presunti "salvatori" del motore a due tempi sono numerosi e pochi superano la fase iniziale di sviluppo. Ma è proprio per questo motivo che l'ingresso di un nome di primo piano come GM nell'arena è così entusiasmante. Se il colosso americano dovesse iniziare a introdurre motori a due tempi nelle proprie auto nei prossimi anni, si spera che anche i produttori di motociclette raccolgano l'ispirazione, riaprendo un capitolo tecnico dato per chiuso.

Caricamento commenti...