BMW, un brevetto per un tre cilindri a W

BMW, un brevetto per un tre cilindri a W
Un inedito tricilindrico della Casa di Monaco, con interessanti potenzialità su moto per esplorare nuovi segmenti
13 marzo 2015

Il segreto di BMW nella costante crescita dei numeri di vendita sta – parola dell’AD Stephen Schaller – nella sua capacità di aggredire con prontezza tutti i segmenti del mercato, per piccoli che siano. Il proliferare di modelli e di schemi tecnici (fenomeno macroscopico per una Casa legata per decenni ai bicilindrici boxer e ai quattro cilindri a sogliola delle serie R e K) degli ultimi anni va proprio in questa direzione: entrare in ogni nicchia.

Nell’ultima intervista concessaci è stato proprio Schaller a citare la clientela di gusto tipicamente statunitense come potenziale target per le future proposte di BMW, con modelli magari non necessariamente definibili come veri e propri cruiser ma appetibili per chi volesse un modello da affiancargli nel proprio garage.

Potrebbe andare proprio in questa direzione la soluzione motoristica recentemente brevettata (attraverso due brevetti, uno sull’imbiellaggio e uno sulla disposizione dei cilindri) dalla Casa dell’Elica che vi presentiamo.

 

Naviga su Moto.it senza pubblicità
1 euro al mese

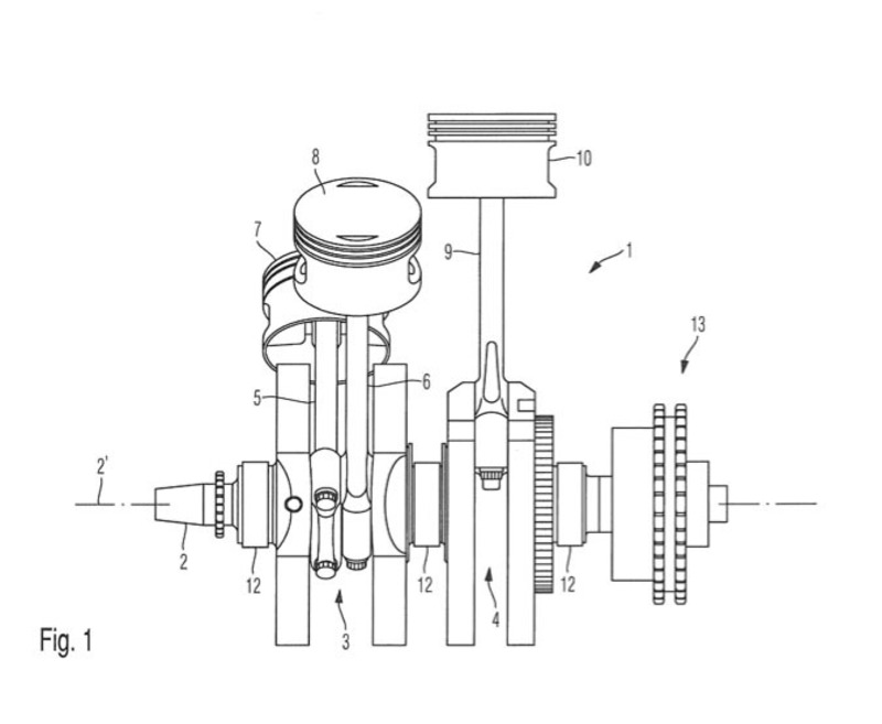
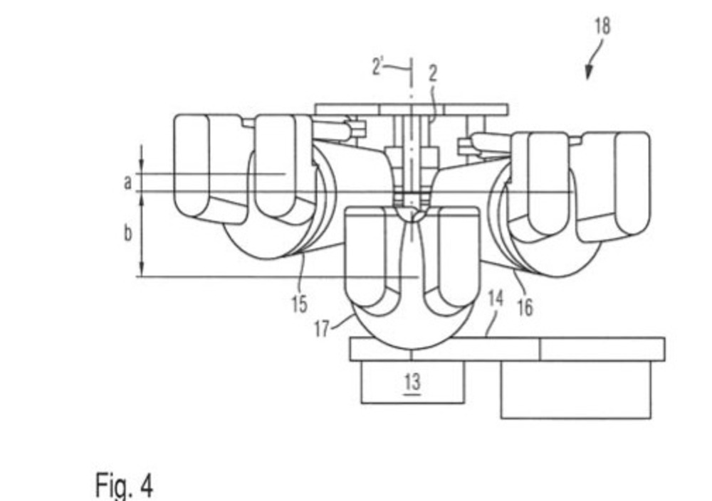
La soluzione vanta per diversi aspetti una certa parentela con il boxer. In primis per l’origine, perché come il bicilindrico contrapposto anche lo schema tricilindrico a W qui proposto ricorda piuttosto da vicino un propulsore stellare di derivazione aeronautica, in questo caso un otto cilindri tagliato “dalla vita in giù”; secondariamente perché nella vista in sezione non è difficile notare come il terzo cilindro venga applicato in maniera quasi posticcia ad un bicilindrico – a V e non boxer, ma con più di una somiglianza. L’imbiellaggio è infatti vincolato a due diversi alberi motore: due cilindri ne condividono uno, mentre il terzo risiede su un albero secondario collegato attraverso ingranaggi.

L’angolo (o meglio, gli angoli) fra i cilindri potrebbe essere in realtà diverso da quello rappresentato – la descrizione cita espressamente la libertà nella definizione di questi ultimi – ma è piuttosto difficile immaginarsi un motore ad altissime prestazioni. Più ragionevole l’ipotesi di un propulsore dalla forte immagine anticonvenzionale che potrebbe spingere un modello per tornare ad aggredire il segmento già esplorato qualche anno fa con R1200C e Montauk. Restiamo in attesa di ulteriori sviluppi.

Immagini WIPO via BMW

Argomenti

Caricamento commenti...