Aerodinamica attiva per la R1

Aerodinamica attiva per la R1
Yamaha ha brevettato un'evoluzione della sua superbike R1, introducendo un innovativo sistema di aerodinamica attiva. La nuova carenatura, ispirata ai prototipi da competizione, è dotata di prese d'aria che si aprono e si chiudono in modo automatico.
1 settembre 2025

Come segnalato dai colleghi di Cycleworld, Yamaha ha depositato un brevetto per una R1 con aerodinamica attiva. La nuova carena ha prese d'aria che si aprono o si chiudono automaticamente per ottimizzare la resistenza e il raffreddamento, adattandosi a parametri come la velocità e la temperatura, sistema adottato da anni in campo automobilistico ma mai utilizzato su una due ruote.

Naviga su Moto.it senza pubblicità
1 euro al mese

Le auto moderne stanno adottando soluzioni di aerodinamica attiva, in particolare le saracinesche attive che sono diventate una caratteristica comune su molti modelli. Il loro scopo principale non è tanto la gestione della temperatura del motore, ma l'ottimizzazione dell'efficienza aerodinamica.

Chiudendo le prese d'aria quando il raffreddamento non è necessario, si crea un flusso d'aria più pulito e diretto intorno al veicolo. Questo riduce la resistenza aerodinamica, permettendo all'auto di fendere l'aria con maggiore facilità. Il risultato si traduce in un miglioramento dell'efficienza e, di conseguenza, in consumi ridotti, sia per le auto a combustione interna che per i veicoli elettrici.
Nel 2023, BMW ha depositato brevetti che dimostravano di aver preso in considerazione la stessa idea per le motociclette, concentradosi sull'ottimizzazione del flusso d'aria in ingresso bloccando l'accesso ai radiatori quando non è necessario il raffreddamento.
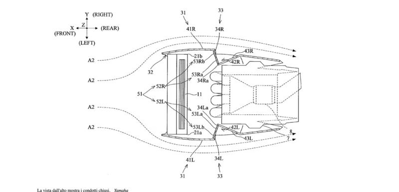
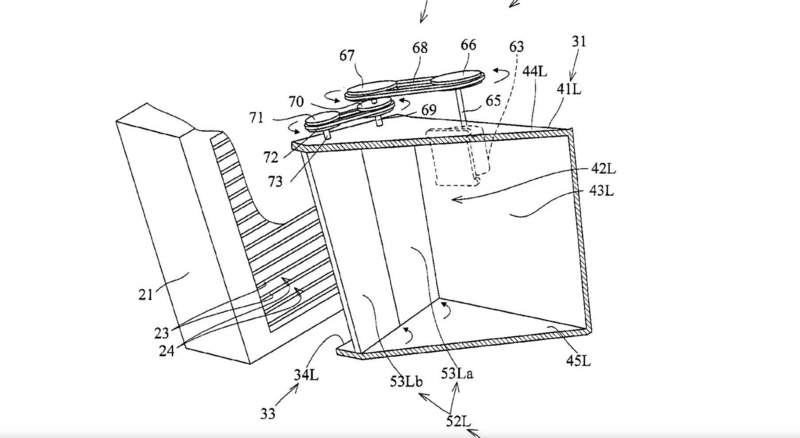
Il brevetto di Yamaha adotta un approccio più "sottile", la R1 in questa configurazione, utilizza una carenatura laterale estesa dotata di condotti di uscita ad apertura variabile.

Il brevetto spiega che, quando questi condotti sono chiusi, l'aria calda che ha già attraversato il radiatore ristagna all'interno della carena. Questo crea un effetto di pressione che devia l'aria in arrivo, spingendola a fluire attorno ai lati della carenatura invece di attraversare il radiatore. Il risultato è una riduzione della resistenza aerodinamica quando non è necessario un raffreddamento intensivo.

I documenti del brevetto di Yamaha mostrano due versioni alternative, offrendo alla casa giapponese maggiore flessibilità nella scelta della soluzione finale.
Il primo presenta una singola, grande presa d'aria a palette variabili su ciascun lato della carenatura. Questo design è più semplice e probabilmente meno costoso da produrre.
Il secondo prevede una coppia di prese d'aria su ciascun lato, ciascuna con le proprie palette variabili. Questa configurazione offre un maggiore controllo sul flusso d'aria e un potenziale di raffreddamento superiore, permettendo di gestire in modo più preciso l'equilibrio tra deportanza e resistenza aerodinamica.

Entrambe le versioni mirano allo stesso obiettivo: migliorare l'efficienza complessiva della moto, un aspetto cruciale non solo per le prestazioni in pista, ma anche per il rispetto delle normative sulle emissioni, un fattore che ha portato la R1 a non essere più omologata per l'uso stradale in Europa.

Hot now

Caricamento commenti...